Thermodynamic Analysis with Design of a Central Heating System

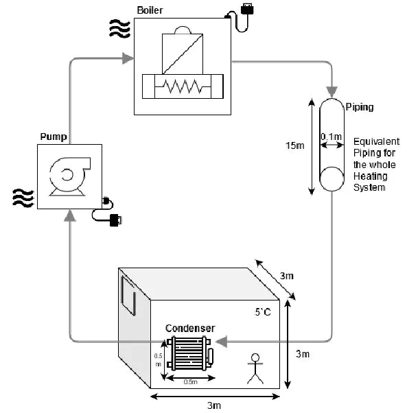
Block Diagram of Closed System
A theoretical central heating system was designed using pump, condenser and boiler using thermodynamic tools and techniques
Ahsan Ali
Ahsan Ali
Electrical/Electronics Engineer

MSc Electronics Student at Politecnico di Torino. Holds BSc in Electrical Engineering with a minor in Computer Science. Previously worked as a Research Assistant and Embedded System Developer. My research interests include Power Electronics, Instrumentation and Controls, and Embedded Systems.